Охладители пара
Охладители пара предназначены для охлаждения пара и являются составной частью комплекта изделий, входящих в ОУ, РОУ и БРОУ.
В поток пара в охладителе впрыскивается охлаждающая вода или пароводяная смесь, которая, испаряясь за счет тепла, отбираемого от пара, охлаждает его до заданной температуры. В зависимости от соотношения расходов острого пара и впрыскиваемой охлаждающей воды, а также их первоначальной температуры обеспечивается необходимая температура охлажденного пара на выходе охладителя. Охлаждающая вода впрыскивается с помощью распылительных устройств (форсунки механического и парового распыливания, распыливающие вставки или распыливающие сопла), расход через которые регулируется клапаном впрыска. Сигнал на регулирование расхода охлаждающей воды осуществляется по температуре охлажденного редуцированного пара за охладителем пара. Охладители пара могут снабжаться одной или несколькими дроссельными решетками, осуществляющими окончательное редуцирование пара после редукционного клапана. Одновременно эти решетки частично выполняют роль шумоглушителей, снижая уровень шума при расширении пара в охладителе.
Охладители пара устанавливаются на горизонтальных и вертикальных участках трубопроводов за редукционным паровым клапаном и присоединяются к трубопроводу с помощью сварки.
В зависимости от рабочих параметров острого и редуцированного охлажденного пара охладители пара имеют различные конструктивные исполнения, отличающиеся друг от друга размерами, исполнением узла впрыска и конструкцией распыливаюших устройств, а также числом дросселирующих решеток.
Материал корпусов охладителей — сталь типа ХМФ (ХМ).
Изготовление и поставка по ТУ 108-986-80



Охладитель пара 827-250/250-0П, 827-350/350-0П, 827-450/450-0П

Охладитель вара 827-400/400-0П

Охладитель пара 863-450/700-0П

Охладитель пара 863-350-0П, 865-450-0П

Охладитель пара 863-350/450-0П

Охладитель пара 827-250/350-0П

Охладитель пара серий 1100 и 1101

Охладитель пара 891-450/700-0П
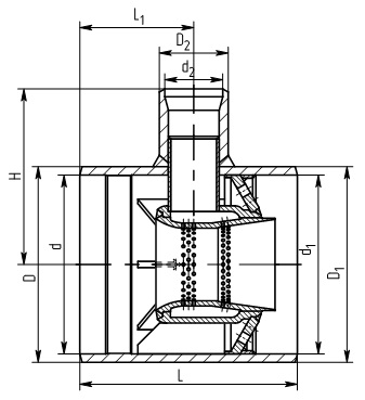
Техническая характеристика охладителей пара.
| Обозначение изделия | DN/DN | pном/t, МПа/ °С | Площадь проходных сечений решеток, см2 | Размеры, мм | Масса, кг | |||||||||||||
| F1 | F2 | F3 | F4 | F5 | F6 | L | H | L1 | D | d | D1 | d1 | d2 | d2 | ||||
| 827-175/175-0П | 175/175 | 9,8/540 | — | — | — | — | — | — | 1200 | 278 | — | 219 | 184 | 219 | 184 | 32 | 20 | 142 |
| 827-250/250-0П | 250/250 | 4,1/545 | — | — | — | — | — | — | 1200 | 608 | 45 | 273 | 248 | 273 | 248 | -«- | -«- | 157 |
| 827-250/350-0П | 250/350 | 4,1/545 | — | — | — | — | — | — | 1920 | 712 | 535 | 273 | 248 | 377 | 345 | -«- | -«- | 399 |
| 827-350/350-0П | 350/350 | 4,1/545 | — | — | — | — | — | — | 1220 | 712 | 45 | 377 | 345 | 377 | 345 | -«- | -«- | 260 |
| 827-400/400-0П | 400/400 | 4,1/545 | — | — | — | — | — | — | 1200 | 593,5 | 50 | 426 | 390 | 426 | 390 | -«- | -«- | 328 |
| 827-450/45 0-0П | 450/450 | 4,1/545 | — | — | — | — | — | — | 1500 | 800 | 45 | 465 | 424 | 465 | 424 | -«- | -«- | 469 |
| 863-350-0П | 350/350 | 4,1/545 | 179 | — | — | — | — | — | 430 | 510 | 230 | 377 | 345 | 377 | 345 | 133 | 112 | 122,4 |
| 863-350-0П-01 | 350/350 | 4,1/545 | 179 | - | - | - | - | - | 430 | 510 | 230 | 377 | 345 | 377 | 345 | 133 | 112 | 122,4 |
| 863-350/450-0П | 350/450 | 4,1/545 | 280 | — | — | — | — | — | 880 | 510 | 220 | 377 | 346 | 465 | 424 | 133 | 112 | 270 |
| 863-450/700-0П | 450/700 | 2,2/460 | 693 | — | — | — | — | — | 1460 | 740 | 250 | 465 | 424 | 728 | 704 | 133 | 112 | 361 |
| 865-450-0П | 450/450 | 4,1/545 | 693 | — | — | — | — | — | 650 | 605 | 2 70 | 465 | 424 | 465 | 424 | 133 | 112 | 206 |
| 891-450/700-0П | 450/700 | 2,0/440 | 534 | — | — | — | — | — | 1410 | 830 | 675 | 465 | 424 | 724 | 702 | 133 | 112 | 362 |
| 955-100/350-0П | 100/350 | 14,0/500 | 57 | 103 | — | — | — | — | 1920 | 710 | 800 | 159 | 97 | 377 | 345 | 32 | 20 | 368 |
| 1100-65/100-0П | 65/100 | 9,0/540 | 5,5 | 9,4 | — | — | — | — | 505 | 205 | 350 | 76 | 62 | 133 | 112 | 29 | 22 | 23,5 |
| 1100-100/100-0П | 100/100 | 8,1/540 | 9,4 | — | — | — | — | — | 300 | 205 | 145 | 133 | 112 | 133 | 112 | 29 | 22 | 16,1 |
| 1100-100/100-0П-01 | 100/100 | 8,1/540 | 17,8 | — | — | — | — | — | 300 | -«- | -«- | -«- | -«- | -«- | -«- | -«- | -«- | 16,1 |
| 1100-100/250-0П | 100/250 | 7,6/530 | 18,5 | 29,5 | — | — | — | — | 1110 | 360 | 820 | 133 | 112 | 273 | 248 | 133 | 112 | 157 |
| 1100-100/250-0П-01 | 100/250 | 7,6/530 | 13,9 | 26,2 | - | — | — | — | 1110 | 360 | 820 | 133 | 112 | 273 | 248 | 133 | 112 | 160 |
| 1100-100/250-ОП-02 | 100/250 | 7,6/530 | 26,2 | 44,9 | 38,7 | — | — | — | 1110 | 360 | 820 | 133 | 112 | 273 | 248 | 133 | 112 | 160 |
| 1100-100/350-0П | 100/350 | 7,6/530 | 26,2 | 49,2 | 69,8 | — | — | — | 1500 | 410 | 1210 | 133 | 112 | 377 | 345 | 133 | 112 | 240 |
| 1100-100/600-0П | 100/600 | 8,1/540 | 9,2 | 16,9 | 30,8 | 53,4 | 93 | — | 2175 | 455 | 1570 | 133 | 112 | 635 | 610 | 133 | 112 | 502 |
| 1100-100/800-0П | 100/800 | 8,1/540 | 18,5 | 33,9 | 61,5 | 106,8 | 186,9 | — | 2530 | 455 | 1570 | 133 | 112 | 825 | 800 | 133 | 112 | 608 |
| 1100-150/250-0П | 150/250 | 6,4/540 | 44,9 | — | — | — | — | — | 840 | 360 | 550 | 194 | 163 | 273 | 248 | 133 | 112 | 139 |
| 1100-150/250-0П-01 | 150/250 | 6,4/540 | 40 | 55,7 | — | — | — | — | 840 | 360 | 550 | 194 | 163 | 273 | 248 | 133 | 112 | 142 |
| 1100-150/250-0П-02 | 150/250 | 6,4/540 | 40 | 74,1 | — | — | — | — | 840 | -«- | -«- | -«- | -«- | -«- | -«- | -«- | -«- | 138 |
| 1100-150/350-0П | 150/350 | 6,8/530 | 119,5 | — | — | — | — | — | 1240 | 360 | 550 | 194 | 163 | 377 | 345 | 133 | 112 | 198 |
| 1100-150/350-0П-01 | 150/350 | 6,8/530 | 55,4 | 86,8 | — | — | — | — | 1250 | 410 | 960 | 194 | 163 | 377 | 345 | 133 | 112 | 222 |
| 1100-150/350-0П-02 | 150/350 | 6,8/530 | 46,2 | — | — | — | — | — | 1240 | -«- | -«- | -«- | -«- | -«- | -«- | -«- | -«- | 198 |
| 1100-150/350-0П-03 | 150/350 | 6,8/530 | 60,1 | 86,7 | — | — | — | — | 1250 | -«- | -«- | -«- | -«- | -«- | -«- | -«- | -«- | 222 |
| 1100-150/450-0П | 150/450 | 7,1/525 | 95,4 | 149 | — | — | — | — | 1695 | 455 | 1405 | 194 | 163 | 465 | 424 | 133 | 112 | 475 |
| 1100-150/450-0П-01 | 150/450 | 7,1/525 | 55,4 | 91,1 | 149 | — | — | — | 1695 | 455 | 1405 | 194 | 163 | 465 | 424 | 133 | 112 | 507 |
| 1100-150/450-0П-02 | 150/450 | 7,1/525 | 40 | 70,8 | 109 | — | — | — | 1695 | 455 | 1405 | 194 | 163 | 465 | 424 | 133 | 112 | 477 |
| 1100-150/800-0П | 150/800 | 7,6/530 | 40 | 70,7 | 122,5 | 198 | — | — | 2365 | 455 | 1405 | 194 | 163 | 825 | 800 | 133 | 112 | 651 |
| 1100-150/800-0П-01 | 150/800 | 7,6/530 | 49,2 | 87,6 | 138,2 | 223 | — | — | 2365 | 455 | 1405 | 194 | 163 | 825 | 800 | 133 | 112 | 681 |
| 1100-150/1000-0П | 150/1000 | 6,8/540 | 40 | 70,8 | 123 | 226 | 387 | — | 2585 | 455 | 1500 | 194 | 163 | 1020 | 996 | 133 | 112 | 681 |
| 1100-175/450-0П | 175/450 | 7,1/525 | 121,7 | 221,1 | — | — | — | — | 1738 | 455 | 1448 | 219 | 184 | 465 | 424 | 133 | 112 | 491 |
| 1101-50/100-0П | 50/100 | 9,4/540 | 5,5 | 9,4 | — | — | — | — | 510 | 205 | 360 | 76 | 50 | 133 | 112 | 29 | 22 | 25.7 |
| 1101-100/250-0П | 100/250 | 10,8/540 | 13,9 | 26,2 | 38,7 | — | — | — | 1210 | 360 | 920 | 133 | 94 | 273 | 248 | 133 | 112 | 199 |
| 1101-100/800-0П | 100/800 | 10,8/540 | 13, 9 | 26,2 | 41,5 | 72,2 | 125,6 | 220,4 | 2940 | 455 | 1985 | 133 | 94 | 825 | 800 | 133 | 112 | 826 |
| 1101-150/225-0П | 150/225 | 12,0/550 | 71 | — | — | — | — | — | 840 | 360 | 550 | 219 | 156 | 273 | 230 | 133 | 106 | 190 |
| 1101-150/225-0П-01 | 150/225 | 12,0/550 | 71 | — | — | — | — | — | 840 | -«- | -«- | -«- | -«- | -«- | -«- | -«- | -«- | 190 |
| 1101-150/450-0П | 150/450 | 10,8/530 | 40 | 70,8 | 109 | — | — | — | 1695 | 455 | 405 | 219 | 156 | 465 | 424 | 133 | 112 | 490 |
| 1101-150/450-0П-01 | 150/450 | 10,8/530 | 59,7 | 107,7 | 149 | — | — | — | 1695 | 455 | 405 | 219 | 156 | 465 | 424 | 133 | 112 | 488 |
| 1101-150/450-0П-02 | 150/450 | 10,8/530 | 40 | 70,8 | 132 | 219 | — | — | 1695 | -«- | -«- | -«- | -«- | -«- | -«- | -«- | -«- | 529 |
| 1101-150/450-0П-03 | 150/450 | 10,8/530 | 47,7 | 87,7 | 159,8 | — | — | — | 1695 | -«- | -«- | -«- | -«- | -«- | -«- | -«- | -«- | 485 |
| 1101-150/600-0П | 150/600 | 8,5/535 | 80 | 138,2 | 228,4 | — | — | — | 2010 | 455 | 1400 | 219 | 156 | 635 | 610 | 133 | 112 | 597 |
| 1101-150/600-0П-01 | 150/600 | 8,5/535 | 95,4 | 157 | 282,7 | — | — | — | 2010 | 455 | 1400 | 219 | 156 | 635 | 610 | 133 | 112 | 596 |
| 1101-150/600-0П-02 | 150/600 | 8,5/535 | 80 | 136 | 250 | — | — | — | 2010 | -«- | -«- | -«- | -«- | -«- | -«- | -«- | -«- | 596 |
| 1101-150/1000-0П | 150/1000 | 9,2/540 | 40 | 70,8 | 125,6 | 238,6 | 412,2 | — | 2680 | 455 | 1590 | 219 | 156 | 1020 | 996 | 133 | 112 | 832 |
| 950-600/900-0П | 600/900 | 2,2/440 | 1414 | — | — | — | — | — | 890 | 710 | 605 | 630 | 582 | 920 | 892 | 133 | 112 | 421 |
Предыдущая статья
Следующая статья
← вернуться в раздел Энергетическая арматура
← вернуться в оглавление справочника