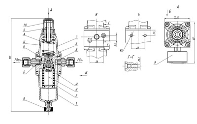
Редуктор давления с фильтром РДФ 300 предназначен для очистки воздуха от механических примесей, сбора конденсата, регулирования и автоматического поддержания заданного уровня выходного давления для питания пневматических приборов. Кроме воздуха могут применяться другие газы, не влияющие на работоспособность нитрильных резин.
| Входное давление Рвх, кгс/см2 | 2,0…10 |
| Условный проход, dу, мм | 6 |
| Диапазон регулирования выходного давления Pвых, кгс/см2 | 0,1…8 |
| Максимальный расход Qmax, м3/час | 15 |
| Класс загрязненности входного воздуха по ГОСТ 17433-8 | 9 |
| Класс загрязненности выходного воздуха | 0…1 |
| Степень очистки, мкм | 10 |
| Температура окружающей среды, t°С | -60…+85 |
| Габаритные размеры, мм | 52x52x176 |
| Масса, кг | 0,6 |
Предыдущая статья
Следующая статья
← вернуться в раздел ГОСТ 9544-93 Арматура трубопроводназапорна Нормы герметичности затворов
← вернуться в оглавление справочника