
| Технические условия | ТУ 26-07-1573-91 | |
| Сертификат соответствия | РОСС RU.АЯ27.В21280 | с 28.01.2009 по 27.01.2012 |
| Разрешение на применение | РРС 00-34069 | с 29.04.2009 по 29.04.2014 |
| Диаметр номинальный, DN мм | 6; 10; 15 |
| Давление номинальное, PN МПа | 0,6; 1,0; 1,6; 2,5; 4,0; 6,3; 10,0; 16,0; 20,0 |
| Герметичность затвора | по классу «А» ГОСТ 9544-93 |
| Усилие на шпинделе, необходимое для открытия (закрытия), Мкр не более, Нм | 10 |
| Нормальное положение затвора | От полностью «открыто» |
| Рабочая среда | жидкая и газообразная; |
| Температура рабочей среды, °С | от – 60 до +200* |
| Климатическое исполнение | УХЛ1 |
| Температура окружающей среды, °С | от – 60 до + 45 |
| Направление подачи рабочей среды | Под золотник |
| Установочное положение | Любое |
| Присоединение к трубопроводу | Под приварку |
|
| Сталь 12Х18Н10Т |
| Сильфон | Сталь 12Х18Н10Т |
| Шпиндель | Сталь 12Х18Н10Т |
| Втулка резьбовая | Бронза БрАЖН 10-4-4 |
| Конус | Наплавка |
| Уплотнение корпуса | Фторопласт 4 |
|
| 15 |
| Назначенный ресурс, циклов | 3000 |
| Средняя наработка на отказ, не менее циклов | 1500 |

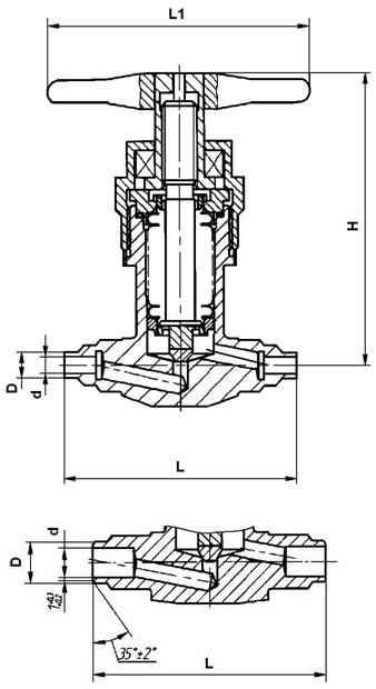
Обозначение | Исполнение | DN мм | РNМПа | Рис. | D мм | d мм | L мм | L1 мм | H мм | Масса кг |
| КПЛВ.491146.027-02 | 6 | От 0,6 | 1 | 9 | 6 | 80 | 90 | 100 | 0,85 | |
| -00 | 10 | 2 | 14 | 10 | 0,84 | |||||
| -01 | 15 | 17,5 | 13 | 0,84 | ||||||
Предыдущая статья
Следующая статья
← вернуться в раздел
← вернуться в оглавление справочника